Alternativet är ju annars att ringkoppla (D-koppla?) och köra på 400V, på så sätt skulle man spara in på en SSR. Men det verkar krångligare på något sätt. Äsch, får väl satsa på 230V.
27 2012-10-05 13:49:52
Sv: Värmesköld 240 eller 400V? (11 svar, postad i Utrustning)
Mellan fas och nollan är väl 240V? Dessutom är de SSRer jag sett märkta med 35-380V eller så.
28 2012-10-05 13:07:43
Sv: Värmesköld 240 eller 400V? (11 svar, postad i Utrustning)
Alltså för att förtydliga vad min egentliga fråga är, visst ska jag satsa på 240V-varianten av värmeelementen?
29 2012-10-05 10:33:05
Värmesköld 240 eller 400V? (11 svar, postad i Utrustning)
Hej!
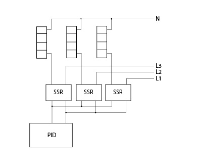
Håller på och planerar för ett mäskkärl. Tanken är att ha tre stycken värmesköldar à 1000W på utsidan. Jag behöver ingen avancerad styrning, kommer ändå stå bredvid. Men jag tänkte ändå satsa på en PID som styr mot en viss temperatur och håller den sedan. Värmeelementen finns som 240V och 400V, men med tanke på att detta ska styras med SSR så ska jag väl ha 240V-varianten och tre SSR som bryter varje fas för sig, eller hur?
Ber om ursäkt för den klantiga skissen, är ingen elektriker. (Men en sådan kommer titta på den färdiga kopplingen så allting blev rätt.) (Och ja, det kommer bli kapslad och körs med jordfelsbrytare
)

30 2012-09-26 06:49:21
Sv: Graf - fiktiv ölstil av malt, humle och äppelcider. (16 svar, postad i Öltyper, recept och bryggloggar)
Funderade också kring hemmabyggd fruktpress, men längre än att kunna använda en bildomkraft istället för skruv kom jag inte.
31 2012-09-06 09:19:14
Sv: Svensk lambic (21 svar, postad i Bryggmetoder och råvaror)
Jag följer det här med spänning. Skitbra med knäppa och/eller annorlunda idéer!
32 2012-08-22 12:43:12
Sv: Buteljeringsdag! (18 svar, postad i Inget av ovanstående...)
Tänk om man kunde hämta ut backar med steriliserade flaskor mot en liten slant och pant från något företag. Bara lämna tillbaka flaskorna när man har druckit ur dem och hämta en ny back. *drömmar vidare*
33 2012-06-27 09:08:06
Sv: Bryggdag (1,346 svar, postad i Inget av ovanstående...)
Imorgon är planen följande:
25 liter
5,5 kg pale ale
100g amarillo utspritt på fwh och 20, 15, 10, 5, 2 och 0 minuter
1½ liter granskott som kokas 60 minuter.Spännande. Jag har aldrig använt gran förr.
EDIT: jästen är american ale II. Förkulturen är i nuläget världens fjutt på. Den kommer vara perfekt tills imorgon. Den jästen är en av mina riktga arbethästar.
1 1/2 liter granskott? Wow, det var inte lite. Vad spännande! Berätta gärna om smaken sedan! Om granskottens vitamin C överlevde kokandet vore det ju en riktig hälsokur ![]()
34 2012-06-15 06:50:09
Sv: Brygggyta (45 svar, postad i Utrustning)
Är bara inne på min andra kopp kaffe ännu, så jag kanske inte fattar korrekt. Men vill du värma mäsken direkt med elpatron? Det var jag också inne på förut men många avrådde. De tyckte att värmen även på bara en fas blir för hög så att det påverkar smaken. Innan så var jag inne på en genomföring i botten och hålplåt alternativt 2" i botten och separat lakkärl.
35 2012-06-12 14:16:30
Sv: Egen bar (11 svar, postad i Inget av ovanstående...)
Jag skulle måla om väggarna i en annan färg, blått är ju en ganska kall färg.
Sedan tycker jag om barlöpare, heter det så? Lappar med broderade ölnamn, bra mot ringar i trät från fuktiga glas eller mot kalla armbågar efter mycket barhäng.
Kanske en TV på väggen så man kan titta på F1 eller fotboll, om man nu gillar sånt ![]()
Bra musik förstås.
36 2012-05-21 06:56:09
Sv: Humle bytes (17 svar, postad i Köpes/säljes/bytes/skänkes)
samtliga plantor tar sig fin fint, har nu sticklingar (överblivna sidoskott efter gallring) av Hallertau och Northern B.
Är det så enkelt? Tar man bara sidoskotten och trycker ner dem i jord eller vatten? Står nämligen också där och ska yngla av mina plantor, vet bara inte exakt hur.
37 2012-05-10 06:36:34
Sv: Posta en bild på eran hembryggda öl! (323 svar, postad i Inget av ovanstående...)
http://desmond.imageshack.us/Himg401/sc … es=landing
En special bitter på 4 ABV som jag döpt till " tjocka pappans bitter" för att jag har gått upp 14 kg sen jag började brygga å nu har jag accepterat att jag är en tjock pappa å det här är min bitter.
+1 Haha, klockrent.
38 2012-03-29 06:37:39
Sv: Humle bytes (17 svar, postad i Köpes/säljes/bytes/skänkes)
Det ska väl gå att ta sticklingar av humle också, men jag läste på ze netz att det går bättre/snabbare att ta rhizomer, alltså delar av rotsystemet. Humlen skjuter ju iväg ett gäng nya rotskott varje år, så de kan man kanske knipsa. Läste något om att 2-3cm räcker, tryck ner i jorden, klart.
39 2012-03-22 19:11:43
Sv: Buteljeringsdag! (18 svar, postad i Inget av ovanstående...)
Ska testa, tack!
40 2012-03-22 07:38:09
Sv: Buteljeringsdag! (18 svar, postad i Inget av ovanstående...)
Hrmpf, ingenting verkar funka, lagt min ale på fat förra helgen och trycksatt med 0,5bar vid 0 grader och fyllt på ofta, borde väl bli hyfsat med kolsyra. Men det skummar ungefär som äppeljos. Idag får jag leta läckage i fatet verkar det som, locket brukar ju vara svår att få tätt. MEN för att se det lite positivt, smaken är ganska god ![]()
41 2012-03-15 08:05:27
Sv: Bryggerier (15 svar, postad i Presentationer)
Fan jag vill också ha ett eget lekrum! Tjejen vitsade med att jag skulle skriva "Stugbryggeri" på mina etiketter, hon syftar på att jag håller till i tvättstugan. Nåja, bättre än köket i alla fall.
42 2012-03-15 07:59:35
Sv: Hur kopplar man en termostat till kylskåpet? (23 svar, postad i Utrustning)
brandemannen skrev:Skillnaden är att man inte kan koppla in både värmning och kylning men för vårat ändamål räcker nog en kanal, kylning eller värmning bra.
På vintern om man har ett kallförråd kan det vara bra att även kunna värma. Jag skulle faktiskt kunna ha nytta av det om jag skaffar en kyl till. Då får den stå ute....
Jag för min del kommer satsa på en universaltermostat för att den är så - uh - universal? Den går lätt att flytta mellan olika apparater. Och sedan en tvåkanals för inbyggnad som jag sätter in i ölkylskåpet eller den oanvända frysboxen ute, som Scary sa, det vore bra att kunna ha en kupévärmare i på vintern.
Om ni inte vill beställa från utlandet finns ju även de här: http://www.punos.se/kyla_varme/termosta … ylrum.html
Minstingen HY06 skulle kosta 537:- SEK, Exworks, EL98
43 2012-03-15 07:49:55
Sv: kylskåpet slår inte i gång. är det kört? (16 svar, postad i Utrustning)
nils-alf skrev:Skulle det här kunna vara en idé att göra fast kylskåpet fungerar? Eller är det
onödigt?Well... Om termostaten funkar kan det väl kvitta eftersom man ändå kör på full effekt. Men om den dör så är det ju lösningen. Kopplar du ur den så kan du inte köra det utan humletermostaten ju. Om det nu skulle finnas en anledning?
Men är det inte så att kylskåpet egentligen klarar kyla ganska mycket? Och om originaltermostaten sitter kvar kommer den ju bryta strömmen till kompressorn, även när den står på max-läget. Kopplar man förbi termostaten i kylskåpet och kör med extern termostat borde man väl kunna komma ner lägre i temperatur, eller?
44 2012-03-14 08:18:23
Sv: Sökes: humlerhizomer i Uppsalatrakten (9 svar, postad i Köpes/säljes/bytes/skänkes)
Notdavid skrev:Jag har förutom en av okänt sort även två Magnum-plantor och en Perle. Bor utanför Örsundsbro, hojta till om det finns intresse. Men jag har ingen aning hur man knipsar av dem på bästa sätt.
Perle är en av mina absoluta favoritsorter! Lyckas du knipsa av något så tar jag hemskt gärna en sådan.
Absolut, ska bara ta reda på hur man knipsar på rätt sätt.
Efter lite googling räcker 2-3cm av rotskottet, jag testar när den har kommit igång. En bytardag vore riktigt bra! ![]()
45 2012-03-13 20:02:49
Sv: Avlopp till mäskkärl? (2 svar, postad i Utrustning)
Ja precis, det var ju det med lakvattnet
Annars en bra idé. Hinken har dock en mindre diameter än kokkärlet, sistnämnda är ungefär 35cm.
Jag är rädd att det bara går att lösa med svetsning, och jag har redan dåligt samvete gentemot stackarn som fick svetsa den här.
46 2012-03-13 12:16:22
Avlopp till mäskkärl? (2 svar, postad i Utrustning)
Hej alla ni med fiffiga idéer,
jag har fastnat lite vad gäller mäskkärl. Förut så körde jag med kittel på spisen, men nu har jag byggt (eller ritat och låtit svetsa) den här kokgrunkan.
Förut, när jag mäskade på spisen, var ju temperaturegleringen inget problem. Men nu blir jag vansinnig över min hink-i-hink-lösning. Volymen i den är alldeles för liten, ja, ni känner säkert till problematiken. Det går ju inte heller att stegmäska på ett bra sätt.
Så för att inte skaffa hem fler grunkor som står i vägen funderade jag på att fixa någon slags öppning i botten på min kokgrunka så att jag kan mäska i den och sedan tömma mäsken in i lakkärlet. Troligen så behöver jag något i storleksordning 1-1,5" så att inte mäsken sätter stopp i röret.
Problemet är att det bara finns 5cm att tillgå under kokaren. Man skulle kunna sätta bultar i fötterna och på så sätt höja den lite.
Vad bygger minst tror ni? En svetsad/skruvad flansch? Jag vet liksom inte vad som går att beställa på VVS-butikerna, har letat men inte hittat något bra.
Eller en sådan här? http://www.marineshop.at/frisch-und-abw … lt/a-3166/
(Just den här är ju redan på 93mm i höjd, men det kanske finns mindre varianter.)
Skulle jag även vilja laka i kokaren har jag inte tillgång till lakvatten, så det går bort.
Någon som har en bra idé?

47 2012-03-13 11:53:37
Sv: Sökes: humlerhizomer i Uppsalatrakten (9 svar, postad i Köpes/säljes/bytes/skänkes)
Jag har förutom en av okänt sort även två Magnum-plantor och en Perle. Bor utanför Örsundsbro, hojta till om det finns intresse. Men jag har ingen aning hur man knipsar av dem på bästa sätt.
Annars läste jag att man kan äta skotten som typ sparris ![]()
48 2012-02-20 20:29:13
Sv: Bryggdag (1,346 svar, postad i Inget av ovanstående...)
Blev ingen bryggning i lördags, blev vinterkräksjukan istället ![]()
49 2012-02-16 13:25:55
Sv: Bryggdag (1,346 svar, postad i Inget av ovanstående...)
Har man för mycket tid kan man ju alltid bygga vidare på utrustningen
.
Själv går jag och klappar startar-flaskan varje dag, blir en IPA på lördag.
50 2012-02-10 20:24:41
Sv: Kolsyrefyllning Enköping / Uppsala? (3 svar, postad i Utrustning)
Så. Kan bara rekommendera dem. Väldigt okomplicerade och trevliga. De tog min brandsläckare och bytte den mot en fylld för 360,-. www.ub.se ![]()